
Google n’est pas avare en matière de brevets. Le dernier en date ressemble à une montre connectée, à ceci près qu’elle possède un avantage de taille sur ses concurrents : elle aurait pour vocation de soigner les cellules malades.
Enième gadget connecté ou véritable innovation ? Cette montre qui répond au nom barbare de « Nanoparticle Phoresis » pourrait bien, si elle tient ses promesses, révolutionner la façon de soigner le cancer et d’autres maladies qui touchent les cellules.
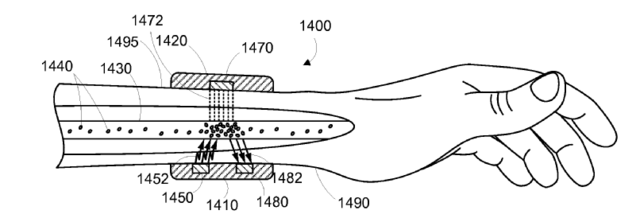
Porté au poignet, l’appareil breveté par Google envoie de l’énergie dans le corps via des fréquences radio, des champs magnétiques, des ondes acoustiques, ou encore des infrarouges. Cette énergie est capable de cibler certaines cellules malades pour les « soigner »... ou, dans certains cas, les détruire.
Si le produit est encore en cours de développement, la marque a annoncé qu’il ne pourrait pas être approuvé avant 5 ans. Google précise d’ailleurs chercher des moyens de détections proactives plutôt que des traitements réactifs.
Rappelons que l’année dernière, Google avait annoncé travailler sur une pilule pouvant détecter les cellules cancéreuses.








Participer à la conversation